Custom Spray Nozzle Solutions – Custom Spray Nozzle Solutions – Right Angle Lance WL Nozzles
Application #031773
Industry: Utilities – Geothermal Power Plant
Application: Geothermal Steam Water Scrubbing
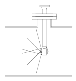
Product Description: Special right angle lance with seventeen WL nozzles on custom manifold
Situation: A customer needed to dilute high mineral content droplets in a geothermal power production gas flow before scrubbing the gas. An important factor was to match as closely as possible the diameter range of the droplets in the pipeline. The nozzles would need to be installed on lances for positioning in the pipeline. The customer was confused by drop size information from a competing nozzle company. A consultant working with the customer had worked favorably with BETE before so he contacted BETE to help decipher the competitor’s drop size charts.
BETE’s Solution: BETE Application Engineers explained the competitor’s information to the customer and noted irregularities. BETE submitted drop size information for several equivalent nozzles with more user-friendly information and fielded questions from the customer. The customer was also informed of BETE’s fabrication capabilities for the lance portions of the assemblies, including being able to work to ANSI B31.1 (Power Piping Code) specifications. The customer ultimately ordered two lances each of two different lance designs, one of which used 17 RAWL nozzles in a custom lance head manifold assembly. BETE’s ability to produce the 316 stainless steel lance head using in-house rapid prototyping technology and investment casting foundry enabled us to offer significant savings, in both time and money, to the customer.


